Μοιάζει σαν να ήταν χθες, όμως η τέταρτη γενιά του Mazda MX-5 ξεκίνησε την εμπορική του πορεία πριν 10 ολόκληρα χρόνια. Ακολουθώντας την συνταγή «ομάδα που κερδίζει δεν αλλάζει», το MX-5 ακόμα και σήμερα δεν διαθέτει εξηλεκτρισμένα κινητήρια σύνολα, διατηρώντας έναν απλό τετρακύλινδρο βενζινοκινητήρα.
Ωστόσο αυτό μπορεί να αλλάξει σύντομα. H Mazda κατοχύρωσε πατέντες για ένα «ηλεκτρικό αυτοκίνητο» το οποίο, παρότι δεν κατονομάζεται, στις φωτογραφίες φαίνεται ξεκάθαρα το σχήμα ενός οχήματος στις διαστάσεις του MX-5.
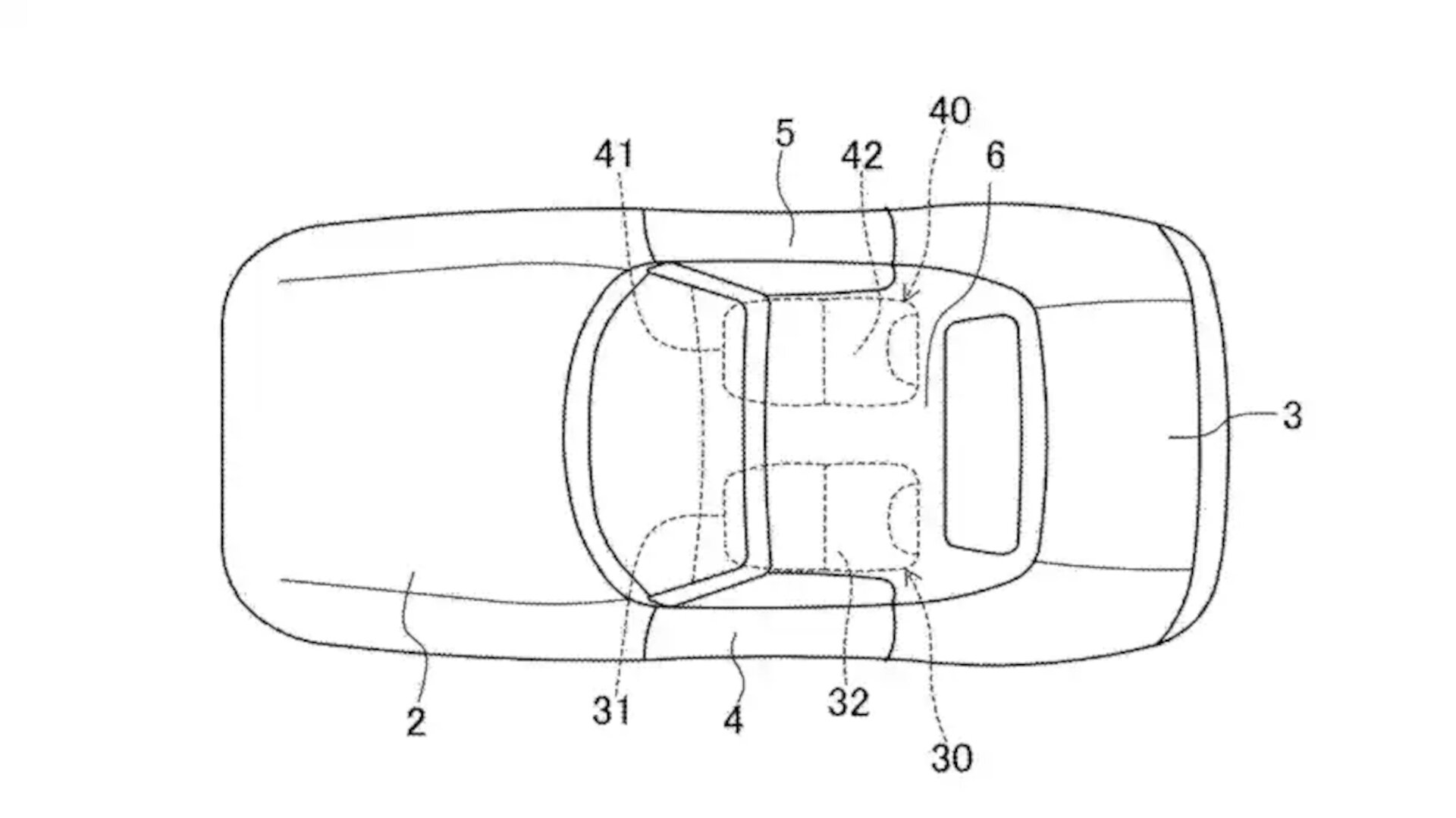
Η πατέντα δείχνει τον τρόπο με τον οποίο η ιαπωνική εταιρεία θα προσπαθήσει να μοιράσει το βάρος της μπαταρίας προκειμένου να προσφέρει ένα ζυγισμένο σασί με καλή αίσθηση στον δρόμο.
Ο μεγαλύτερος όγκος των μπαταριών θα βρίσκεται στο τούνελ μετάδοσης, προκειμένου να διατηρηθεί χαμηλά το κέντρο βάρος. Η Mazda όμως φαίνεται πως έχει προσθέσει και έξτρα μπαταρίες, μία μπροστά από το κάθισμα του συνοδηγού και μία πίσω και από τα δύο καθίσματα.

Σε αντίθεση με την «νόρμα» της εποχής, η οποία θέλει τα περισσότερα αυτοκίνητα επιδόσεων να έχουν δύο ή και παραπάνω ηλεκτροκινητήρες και στους δύο άξονες, η πατέντα δείχνει ότι το μοντέλο διαθέτει μόνο έναν ηλεκτροκινητήρα. Βρίσκεται πίσω από τα καθίσματα, στο μέσο του αυτοκινήτου και κινεί τους πίσω τροχούς. Η Mazda αναφέρει ότι το αυτοκίνητο που φαίνεται στην πατέντα έχει οροφή, η οποία «μπορεί να είναι σταθερή, αποσπώμενη ή αναδιπλούμενη».

Παρότι υπάρχουν πιθανότητες να δούμε και ένα ηλεκτρικό MX-5, αυτό δεν σημαίνει ότι δεν θα υπάρχουν και εκδόσεις με θερμικούς κινητήρες. Ξέρουμε ότι η Mazda ετοιμάζει την πέμπτη γενιά του μοντέλου, η οποία θα κινείται από τον νέο Skyactiv-Z. Πρόκειται για έναν κινητήρα που είναι διαθέσιμος τόσο σε ήπια υβριδικές όσο και σε plug-in hybrid εκδόσεις, ωστόσο κρίνοντας από την βαρύτητα που δίνει η ιαπωνική εταιρεία στην φιλοσοφία του Jinba-ittai (αυτοκίνητο και οδηγός ως ένα), ο ήπια υβριδικός κινητήρας με το χαμηλότερο συνολικό βάρος φαίνεται ως μια πιο σίγουρη επιλογή.
ΑΠΟΚΛEΙΣΤΙΚΗ ΣΥΝΕΡΓΑΣΙΑ AUTO EXPRESS